Q*Bert's Qubes ROM hack
by Jess Askey
Converting your existing Q*bert game into a Q*bert's Qubes game is a pretty
straightforward procedure. The conversion kit was mostly just a ROM swap, but
the forground object ROM's unfortunatley required an adaptor PCB since Q*bert's
Qubes used twice the memory space as Q*bert. Well I took a look at the QQ manual
and noticed that I wouldn't be too hard to hack this problem. The procedure
is as follows:
- Download the ROM's.
- Burn all the necessary ROM's from the file (instructions are in the .zip)
- Modify the Game PCB
- Remove (+5V) from K4-26, K5-26, K6-26 and K7/8-26, this can be done by
cutting the trace.
- Jumper pin 26 from all the foreground ROM's to A8 pin 12
- Remove both R31 and R33 (1K Ohm resistors)
- Remove Q2 (2N6044)
- Connect the base of Q1 (from front view, pin 1) to A8-15 via a 15KOhm
resistor
- Check all your connections and have fun!
Things to note are:
- Q*bert's Qubes does not use the knocker that is in Q*bert. It is unfortunate
since the knocker sounds so good in gameplay.
- The sound ROMs are the same as a normal Q*Bert.
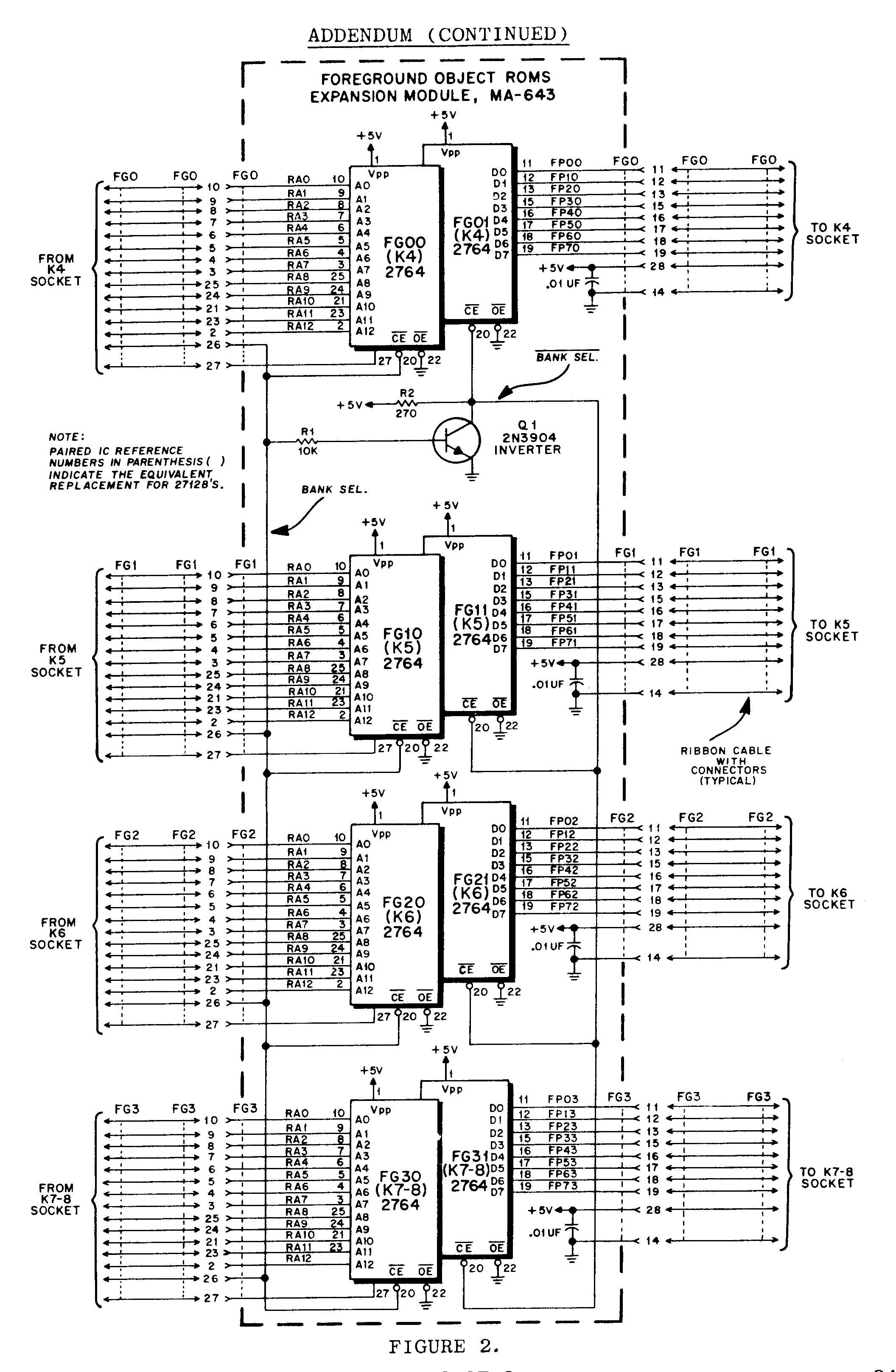
- Look at the Schematic
for the Foreground Object Module
- Download the full Manual
and Schematics for Q*Bert's Qubes (8.28MB Adobe PDF
document)
Updated: April 9, 2001